Henry Crew, la persona más joven de la motocicleta en todo el mundo y el embajador de Beeline, te lleva a través de todo lo que tú …
[palabra clave]
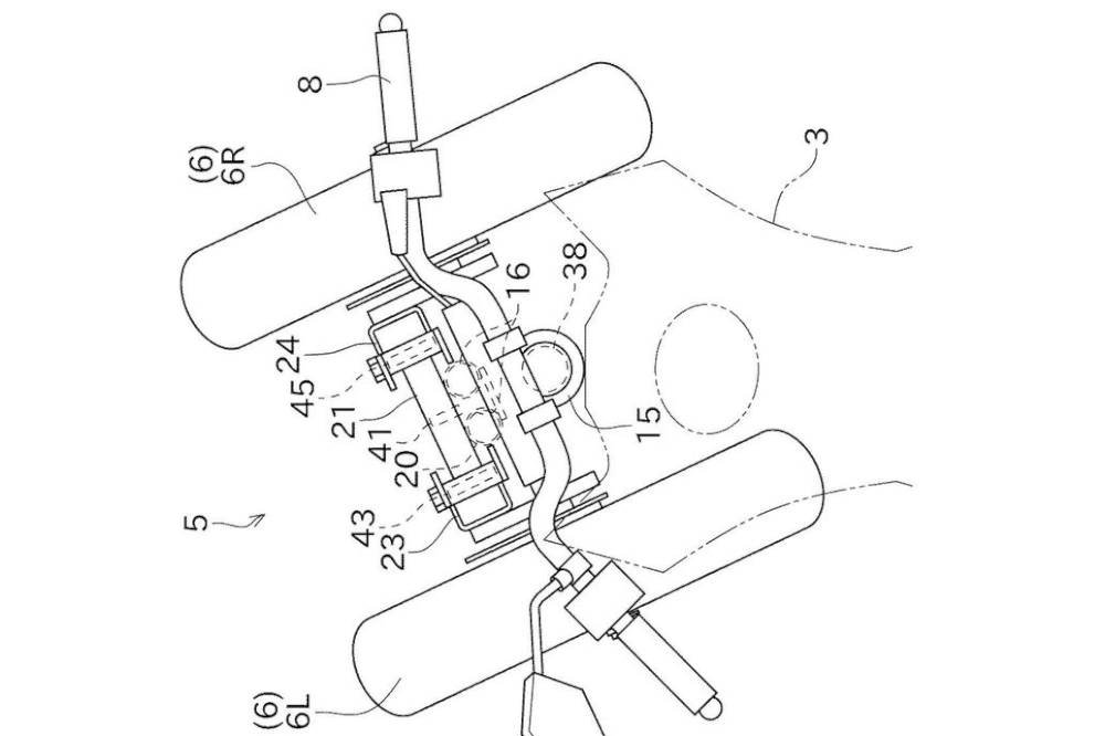
Beeline Moto explicado | Unboxing, instalando y montando con Henry Crew
Sumate a nuestra comunidad para estar informado del mundo de las motos